快科技10月10日消息,据媒体报道,宗馥莉在“十一”假期前已经辞任娃哈哈集团董事长兼总经理职位,此事已经通过股东会和董事会。
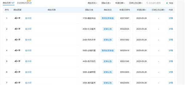
知情人士称,宗馥莉此次辞职是因为商标使用“不合规”,宗馥莉决定经营自己的品牌“娃小宗”。

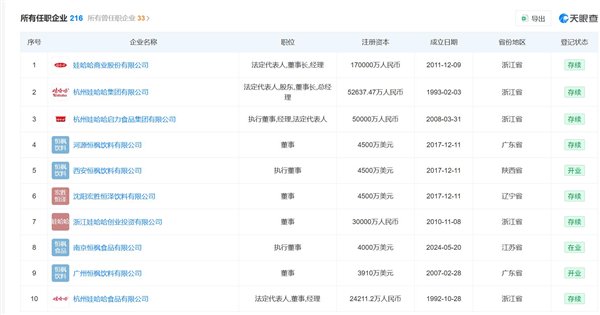
据了解,宗馥莉1982年出生于浙江杭州,为杭州娃哈哈集团创始人宗庆后之女。2018年4月,宗馥莉担任娃哈哈集团品牌公关部部长,2020年3月起兼任娃哈哈集团销售公司副总经理,2021年担任娃哈哈集团副董事长兼总经理。
2024年8月,娃哈哈集团发生工商变更,宗馥莉接替去世的宗庆后,出任娃哈哈法定代表人、董事长,继续兼任总经理。
天眼查显示,宗馥莉关联企业超过200家,宗馥莉掌控的宏胜饮料集团有限公司申请了“宗小哈”、“娃小哈”和“娃小宗”等50多个商标,部分商标处于“等待实质审查”的状态,部分则是获得了初审公告。


【本文结束】如需转载请务必注明出处:快科技
责任编辑:振亭
]article_adlist–>
<!-- 非定向300*250按钮 17/09 wenjing begin -->
<!-- 非定向300*250按钮 end -->
</div>
未经允许不得转载:紫竹林-程序员中文网 » 知情人透露宗馥莉辞职原因:本人将独立经营娃小宗