IT之家 1 月 2 日消息,据科技媒体 TweakTown 前天(12 月 31 日)报道,索尼已提交一项新专利,描绘一种实时情境感知的游戏内辅助方案,可通过游戏录像训练 AI 模型,为卡关的玩家提供针对性辅导。

专利文件指出,虽然电子游戏技术不断进步,但仍有不少非核心玩家会因为难度过高而弃坑游戏,虽然查攻略、看教程视频也能获取教程信息,但这种方法非常耗时,而且往往与玩家所处的具体场景并不完全匹配。

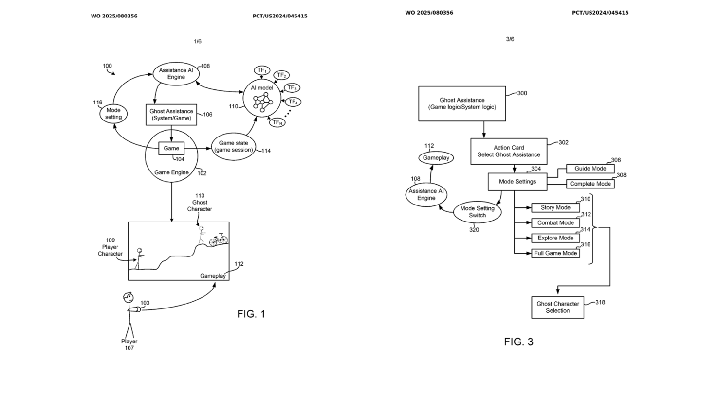
文件中描述道,这套系统将提供一个“幽灵玩家”来辅助真实玩家通关游戏,幽灵玩家的输入源自 AI 模型学习的游戏操作数据,而这些模型基于游戏录像、特定模式游玩训练而来。

IT之家在此援引 TweakTown 表述,AI 模型会通过大量游戏视频来识别不同的游戏场景,并学习游戏中推进进度所需的操作。在玩家遇到卡关状况时,系统会尝试分析当前的游戏进度、状态数据,识别玩家到底为什么卡关。
随后这套系统会使用 AI 模型生成卡关解法,进而为“幽灵玩家”生成相应的控制与动画指令,指导玩家如何突破卡关。且这种指导操作并非基于其他玩家的通关视频,而是会根据玩家当下的游戏状态量体裁衣,一对一定制解决方案。
在游玩过程中,幽灵角色还可以给出直观的视觉示范,向玩家展示如何破局,帮助玩家操控的角色顺利通关游戏。
]article_adlist–>
<!-- 非定向300*250按钮 17/09 wenjing begin -->
<!-- 非定向300*250按钮 end -->
</div>
未经允许不得转载:紫竹林-程序员中文网 » AI 化身“幽灵玩家”教你玩游戏,索尼全新专利曝光