“稀土大王”隐退,实控的泛亚环保拟1元跨界卖酒,标的公司半年投资超900家企业


诸多问题浮现。

老牌环保企业泛亚环保(0556.HK),开启了一场跨度颇大的转型尝试。

近日,泛亚环保公告称,拟以1元收购喜来鹿品牌管理(广州)有限公司(以下简称“喜来鹿”)51%股权,并将这次跨界定位为围绕新业务方向的协同布局。但从标的体量以及扩张节奏来看,这笔并购显得突兀。

天眼查数据显示,成立于2025年8月的喜来鹿,已对外投资超过900家企业,平均每天新增五家被投主体。

在这笔交易公布之前,泛亚环保的管理层结构刚刚完成调整。

作为泛亚环保长期的核心控制方,有“中国稀土大王”之称的蒋泉龙及其家族已退居幕后。2017年9月,蒋泉龙辞去泛亚环保执行董事及主席职务,其子蒋鑫接任;2023年11月,蒋鑫也卸任相关职务。

2025年12月,林俊空降泛亚环保,获委任为执行董事兼董事会主席。

“在过往职业经历中,林先生曾负责全国范围的销售及市场管理工作,主导构建多层级销售网络与渠道体系,并通过系统化管理与精细化运营,实现年度销售规模达到人民币20亿元水平”,泛亚环保对林俊职业背景给予了较高评价。

随着新任董事会主席履新,泛亚环保开启转型之路,却也浮现出诸多尚待解释的问题。

图源:图虫创意图源:图虫创意

环保企业跨界卖酒

泛亚环保对喜来鹿的收购,并非一次完全突发的决策。

公开信息显示,在出任泛亚环保董事会主席前,林俊所任职的企业已与喜来鹿产生业务层面的交集。

根据泛亚环保的任命公告,自2024年起,林俊出任江西森林俊木健康管理有限公司(以下简称“江西森林俊木”)主席;2025年7月起,又兼任森林俊木数智(深圳)网络科技有限公司(以下简称“深圳森林俊木”)主席。

2025年11月22日,认证主体为深圳森林俊木的微信公众号“森林俊木大健康数智科技”发布文章称,森林俊木与喜来鹿于11月18日举行战略合作签约仪式,在资源整合与业务协同方面展开合作。

根据上述公号发布的公司简介,森林俊木是一家以物联网与人工智能为核心驱动力的数智科技企业;聚焦于线下智能消费终端的研发、运营与服务。其消费生态就包括提供现制富氢饮用水,及智能精酿啤酒机。

图源:微信公众号“森林俊木大健康数智科技”图源:微信公众号“森林俊木大健康数智科技”

2025年12月29日,林俊获委任为泛亚环保董事会主席。2026年2月8日,泛亚环保公告拟以1元收购喜来鹿51%股权。

需要补充的是,这笔“1元收购”并非不涉及资金投入。由于截至2月6日,喜来鹿注册资本尚未缴足;交易完成后,泛亚环保仍需按持股比例履行出资义务,金额为510万元。

对于交易目的,泛亚环保在公告中表示,董事会已识别出围绕产品及零售终端的潜在业务发展方向,认为收购喜来鹿有助于扩展主营业务并产生协同效应。

从自身经营情况看,泛亚环保近年业绩表现相对平淡。

根据Wind统计,2022-2024年,泛亚环保分别实现营收1.56亿元、2.20亿元、2.52亿元,净利润-0.01亿元、0.01亿元、0.17亿元。2025年上半年,泛亚环保实现收入1.13亿元,同比下降1.8%;净利润0.05亿元,同比下降26.2%。

值得一提的是,尽管在管理层和董事会中“隐身”,但泛亚环保的大股东来头不小。

根据泛亚环保2025年中报,公司持股5%以上股东包括Praise Fortune Limited、China Sky Global Investment Limited、Hongkong Jinggangshan International Co. Limited及蒋鑫。其中,Praise Fortune Limited由蒋泉龙及其家族控制,合计持有泛亚环保36.02%股权。

蒋泉龙曾是中国稀土行业的领军人。

1999年,他推动中国稀土(00769.HK)在港交所上市,并在2001年以11.4亿元身家位列《福布斯》中国内地富豪榜第39位。高峰时期,中国稀土的市值曾达到百亿港元,蒋泉龙也被外界称为“稀土大王”。不过,随着稀土行业变化和国家政策调整,2012-2018年,中国稀土陷入连年亏损,并逐渐沦为“仙股”。

与此同时,蒋泉龙还背上了巨额债务。2025年7月,中国稀土公告称,经尽职调查发现,蒋泉龙涉及逾2亿元债务逾期,自2024年11月起暂停还款且未作合理解释。2025年6月至今,中国稀土处于停牌状态中。

喜来鹿的另一面

与并购本身同样引发关注的,还有泛亚环保新任董事会主席林俊的履历背景。

泛亚环保的任命公告披露的林俊个人履历集中于2024年至2025年,对其更早阶段的职业经历并未作详细展开。

除上市公司公告外,公开工商信息提供了更多可供交叉核验的线索。

根据国家企业信用信息公示系统,林俊自2024年起担任主席的江西森林俊木成立于2024年8月6日,经营范围包括现制现售饮用水、食品用塑料包装容器工具制品生产等,注册资本1000万元,实缴出资额20万元,实缴出资日期为2030年3月26日。

图源:国家企业信用信息公示系统图源:国家企业信用信息公示系统

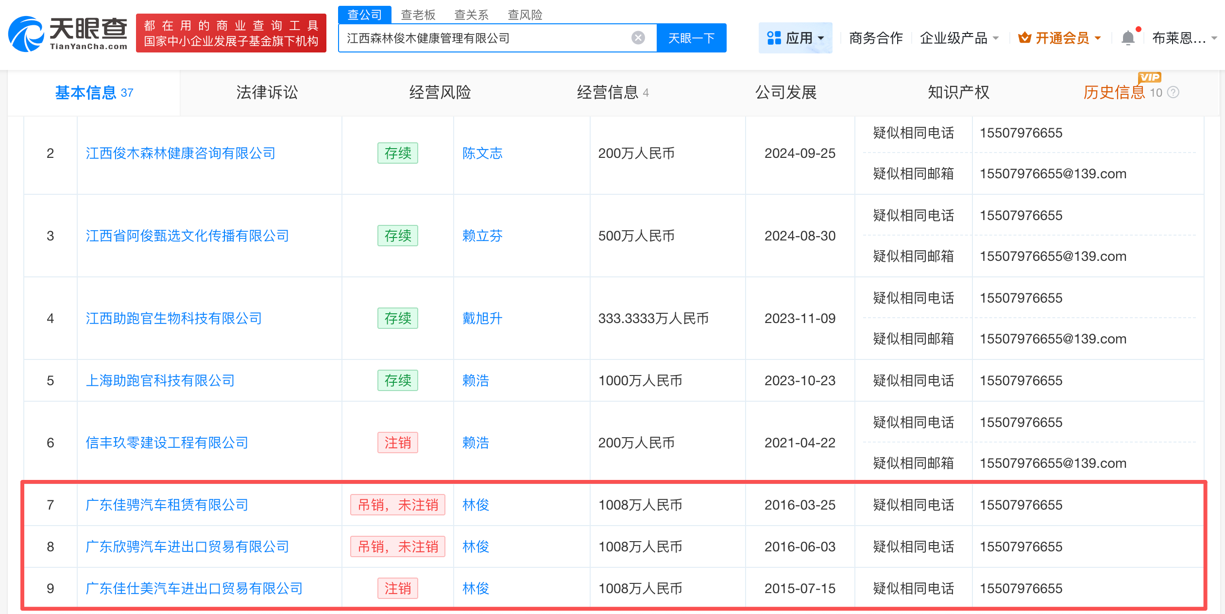
天眼查信息显示,江西森林俊木及其控股股东江西助跑官生物科技有限公司(以下简称“江西助跑官”),与三家注册于广东的汽车贸易及租赁企业疑似共享同一注册电话,包括广东佳骋汽车租赁有限公司、广东欣骋汽车进出口贸易有限公司、广东佳仕美汽车进出口贸易有限公司——而这三家企业的法定代表人均登记为“林俊”。

图源:天眼查图源:天眼查

时代财经进一步查询工商信息发现,前述同名人员曾担任深圳前海鑫星辰文化传媒有限公司(以下简称“深圳鑫星辰”)的法定代表人,持股90%,并担任执行董事、总经理等职务。另据天眼查显示,深圳鑫星辰法定代表人林俊的关联公司之一,即上文提及的与江西助跑官疑似共享同一注册电话的广东佳仕美汽车进出口贸易有限公司。

时代财经从裁判文书网获取的刑事裁定书〔(2018)辽03刑终264号、(2021)辽03刑更513号〕显示,深圳鑫星辰董事长林俊因组织、领导传销活动罪被判处有期徒刑七年,并处罚金50万元。该刑期自2018年6月7日起,至2024年7月21日止,期间曾依法减刑九个月。深圳鑫星辰已注销。

根据裁定书,该案所涉人员林俊出生于1987年6月9日,户籍地为江西省赣州市信丰县。

泛亚环保于2025年12月发布的任命公告显示,其董事会主席林俊时年38岁。另据工商信息显示,江西助跑官注册地址位于江西省赣州市信丰县,江西森林俊木的注册地位于江西省赣州市章贡区。 

图源:国家企业信用信息公示系统图源:国家企业信用信息公示系统

另据时代财经翻阅多篇过往报道及公开视频,星辰集团董事长、佳仕美新能源集团董事林俊,与森林俊木品牌创始人、森林俊木数智(深圳)科技董事长林俊指向为同一人。

2月10日,时代财经就公司董事会主席林俊的履历背景、公开工商信息与裁判文书所涉同名人员之间是否存在关联,以及公司拟收购喜来鹿事项的合规性与尽职调查安排,多次拨打泛亚环保公开联系电话并发出采访函。截至发稿,泛亚环保未作出回应。

作为被收购的标的,近来高调的喜来鹿亦引发市场关注。

2025年11月5日,认证主体为广东喜来鹿数智科技有限公司(实际控制人为森林俊木数智香港有限公司)的微信公众号“喜来鹿精酿”发布文章称,喜来鹿数智精酿定位为“年轻人第一口精酿社交站”,主打10-20平方米的微型门店模型。同时,品牌推出单店联营合作模式,联营费用6.98万元起,门店可选择“1+6轻合伙制”,由1名发起人联合6位合伙人共同参与运营。

上述文章同时提及,喜来鹿品牌拥有“上市公司背书”。

2025年11月8日,喜来鹿在深圳后海举办以“千城万店”为主题的招商会议。会上,喜来鹿管理层公开描绘了上市路径规划,称未来三年将实现千城万店布局,并于2027年完成港股上市,打造“中国精酿啤酒第一股”。

天眼查数据显示,截至2026年2月9日,喜来鹿对外投资企业数量已增至952家。

时代财经获取的一份投资企业名单显示,在952家被投资企业中,绝大多数公司的注册资本为1万元,喜来鹿持股比例集中在90%-99%,认缴出资日期则集中在2029-2031年。

从时间分布来看,喜来鹿的对外投资在今年年初明显提速,2025年全年投资24家企业,其余投资集中出现在2026年初。以2026年1月29日为例,喜来鹿单日新增入股超70家企业。这种以极低注册资本快速铺开的扩张模式,在实体消费行业中并不多见。

不过,泛亚环保在收购公告中并未披露喜来鹿的经营数据及财务状况。

            <!-- 非定向300*250按钮    17/09  wenjing  begin -->
            <!-- 非定向300*250按钮  end -->
        </div>



Source link

未经允许不得转载:紫竹林-程序员中文网 » “稀土大王”隐退,实控的泛亚环保拟1元跨界卖酒,标的公司半年投资超900家企业
关于我们 免责申明 意见反馈 隐私政策
程序员中文网:公益在线网站,帮助学习者快速成长!
关注微信 技术交流
推荐文章
每天精选资源文章推送
推荐文章
随时随地碎片化学习
推荐文章
发现有趣的